青島啤酒前三季度淨利潤首破50億元大關,此前宣佈終止收購即墨黃酒100%股權。
10月27日,青島啤酒股份有限公司(青島啤酒,600600.SH)披露2025年第三季度報告,公司前三季度實現營業收入293.67億元,同比增長1.41%;歸母淨利潤52.74億元,同比增長5.70%。
公司前三季度累計實現產品銷量689.4萬千升,同比增長1.6%,其中:主品牌青島啤酒實現產品銷量399萬千升,同比增長4.1%;中高端以上產品實現銷量293.5萬千升,同比增長5.6%。
單季度來看,第三季度公司實現營業收入88.76億元,同比下降0.17%;歸母淨利潤13.7億元,同比增長1.62%。

前三季度淨利潤首破50億元大關
對於啤酒企業,三季度往往是一年中啤酒消費的旺季,而青島啤酒的三季度業績顯然有些“拖後腿”。
Wind數據顯示,青島啤酒第三季度營收同比下滑,系年內首次。此外,青島啤酒第三季度營收環比下降11.65%,歸母淨利潤環比下降37.55%。
而從前三季度來看,青島啤酒淨利潤首次突破50億元大關,創下歷史新高。

青島啤酒近年來業績表現,來自Wind數據
三季報還顯示,截至報告期末,青島啤酒經營活動產生的現金流量淨額為58.16億元,同比下降6.65%。此外,前三季度,公司銷售費用和管理費用“一降一升”,其中銷售費用33.99億元,同比下降0.65%;管理費用9.61億元,同比上升2.34%。
據三季報,青島啤酒前三大股東依次為香港中央結算(代理人)有限公司、青島啤酒集團有限公司、中國證券金融股份有限公司,持股比例依次為45.01%、32.51%、1.17%。其中,青啤集團持股數量包括了通過其自身以及全資附屬公司香港鑫海盛投資發展有限公司(“鑫海盛”)持有的公司H股股份合計3833.56萬股,其本身持有公司A股股份4.05億股。
從行業排名(以營收為參考)來看,記者此前梳理2025年半年報發現,上半年,青島啤酒營收為204.91億元,在國內啤酒行業五大上市公司中位列第三,排在華潤啤酒、百威亞太之後。華潤啤酒、百威亞太的上半年營收分別為239.42億元、31.36億美元。
記者留意到,隨著啤酒高端化競爭加劇,不少啤酒企業選擇在精釀啤酒、特色飲品,甚至跨界等多方面發力。
關於產品創新方面的規劃,在今年9月舉行的2025年半年度業績說明會上,青島啤酒方面表示,上半年研發上市了“櫻花味白啤、渾濁IPA及全麥國潮、全麥逸品”等多款特色產品,未來將繼續在“輕幹”產品的基礎上推出具有零糖、低卡特點的“超幹”系列產品,並會繼續研發更多特色產品。
終止收購即墨黃酒:交割先決條件未能滿足
就在披露三季報的前一天,青島啤酒宣佈終止收購即墨黃酒100%股權。
10月26日,青島啤酒發佈公告,披露關於收購即墨黃酒100%股權交易的進展。公告稱,截至本公告披露日,《股權轉讓協議》約定的交割先決條件未能滿足,本次股權收購交易終止,公司無須就《股權轉讓協議》終止承擔任何違約責任。
此次交易自今年5月宣佈至終止收購,前後歷時5個半月,曾被外界視為青島啤酒跨界發展的重要一步。
5月7日,青島啤酒公告,為增強產業協同性及企業發展競爭力,當日,公司與新華錦集團有限公司(“新華錦集團”)、山東魯錦進出口集團有限公司(“魯錦集團”)及山東即墨黃酒廠有限公司(“即墨黃酒”)簽訂《股權轉讓協議》,公司擬從新華錦集團和魯錦集團處受讓其合計持有的即墨黃酒100%股權,相關對價為6.65億元和價格調整期損益金額之和。本次股權收購交易完成交割後,公司將持有即墨黃酒全部股權,即墨黃酒成為公司的全資子公司,納入公司合併報表範圍。
據公告,通過本次股權收購持有即墨黃酒100%股權,公司積極拓展非啤酒業務跨產業佈局,推動多元化發展。從市場銷售淡旺季上,“即墨老酒”與公司啤酒產品可以形成市場銷售的互補效應,構建更具市場競爭力的跨品類產品組合,在鞏固公司傳統產品市場地位的同時開闢新的增長點。
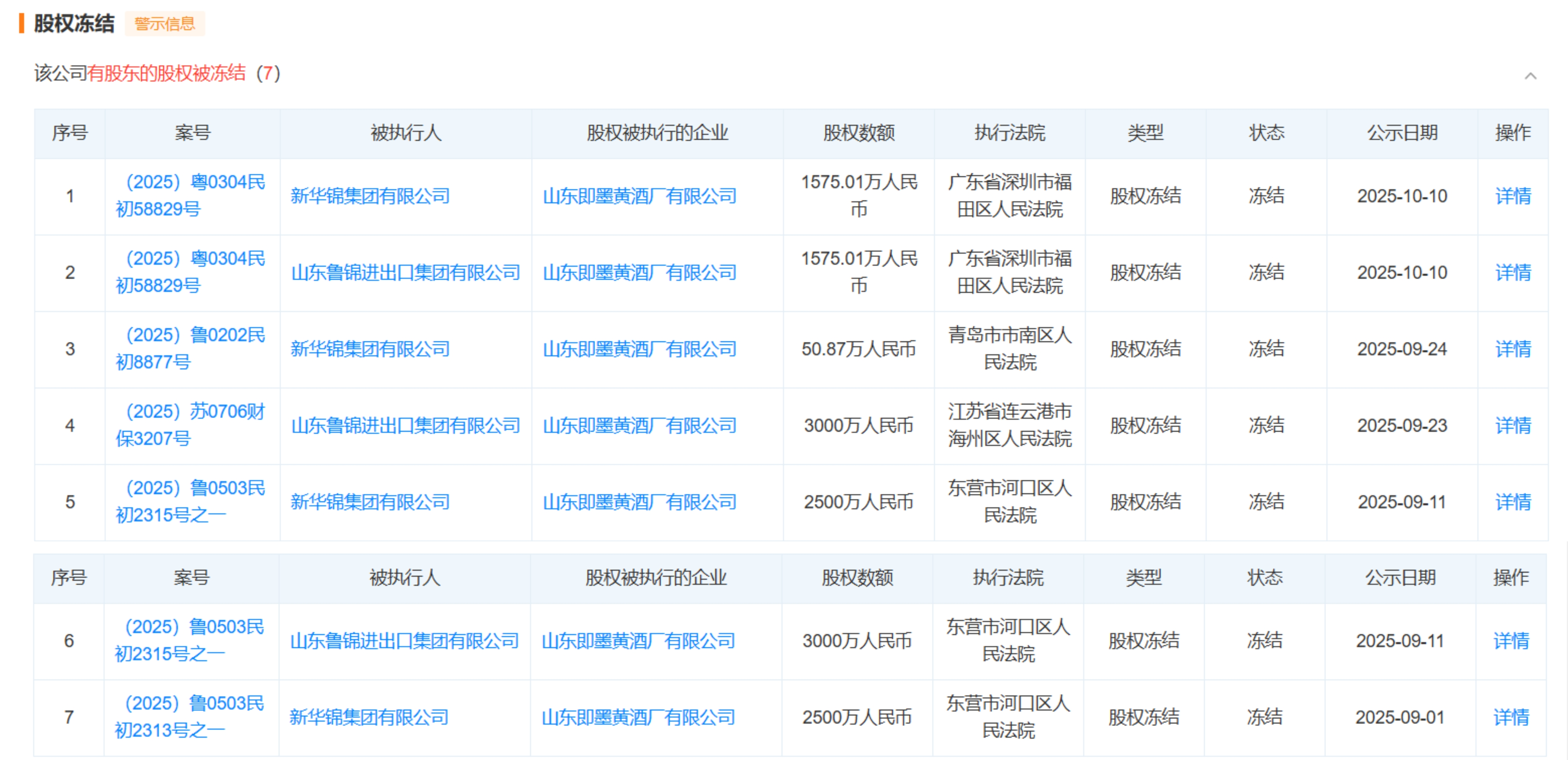
值得關注的是,天眼查顯示,自今年9月以來,即墨黃酒接連新增多項股權凍結事項,當前累計被凍結股權數額超1億元。

截圖來自天眼查
青島啤酒方面,在5月發佈的公告中曾明確了收購即墨黃酒事項的相關履約安排,其中提及,於轉讓協議簽署日至交割日的過渡期內,轉讓方(即新華錦集團和魯錦集團)及目標公司(即墨黃酒)應履行轉讓協議約定義務,確保目標公司及其子公司在所有重大方面延續此前的正常經營,不會出現可能對目標公司及其子公司有重大不利變化的事件。如轉讓協議約定的交割先決條件未能於轉讓協議簽署日後120日內達成或被本公司豁免,或者出現轉讓協議約定的其他情形,轉讓協議將被終止。
截至10月27日收盤,青島啤酒報65.96元/股,跌0.20%;今年以來累計跌15.90%。
來源:中國澎湃新聞